MOS 管根據導電溝道的類型可以分為 N 溝道和 P 溝道兩種。在 MOS 管形成導電溝道的過程中,會涉及到耗盡層和反型層兩個概念,那么它們到底有什么區別呢?
耗盡層,顧名思義,是指在 MOS 管中電子被耗盡的區域。
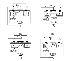
在 N 溝道 MOS 管中,當柵極施加正電壓時,柵極附近的電子被排斥,形成一個電子空缺區域,這就是耗盡層。相反,在 P 溝道 MOS 管中,當柵極施加負電壓時,柵極附近的空穴被排斥,形成一個空穴空缺區域,這也是耗盡層。
這里要敲重點,耗盡層中的載流子濃度非常低,幾乎為零,所以它具有很高的電阻。
反型層,則是指在 MOS 管中由于柵極電壓的施加,導致載流子類型發生反轉的區域。
在 N 溝道 MOS 管中,當柵極施加正電壓時,排斥空穴的同時,也會吸引襯底中的自由電子。這些電子被吸引到耗盡層和絕緣層(SiO2)之間,形成一個 n 型薄區,稱為反型層。反型層中的載流子類型與襯底相反,因此在 N 溝道 MOS 管中,反型層為 p 型。同樣,在 P 溝道 MOS 管中,當柵極施加負電壓時,排斥電子的同時,也會吸引襯底中的空穴。
這些空穴被吸引到耗盡層和絕緣層之間,形成一個 p 型薄區,稱為反型層。反型層中的載流子類型與襯底相反,因此在 P 溝道 MOS 管中,反型層為 n 型。


回到本文主題 耗盡層和反型層有什么區別呢?
簡單來說,它們都是由于柵極電壓的施加,在 MOS 管中形成的特殊區域。但它們的載流子類型不同,耗盡層中的載流子濃度幾乎為零,而反型層中的載流子類型與襯底相反。此外,耗盡層在 MOS 管工作過程中會隨著柵極電壓的變化而變化,而反型層則相對穩定。
此外,耗盡層和反型層在 MOS 管中的作用有所不同:耗盡層主要是排斥柵極附近的電子,降低漏電流;而反型層則是形成源漏之間的導電溝道,負責電流的傳輸。
兩者之間的區別可以用一句話概括:耗盡層是“電子荒漠”,反型層是“電子通道”。
最后,我們來講下耗盡層和反型層的實際應用情況
1. 結構方面:耗盡層是一種電子空缺區域,幾乎沒有自由電子;而反型層是一種電子濃度較高的 n 型薄區,可以導電。
2. 功能方面:耗盡層主要作用是隔離源漏,防止電流流過去;反型層則是負責在源漏之間形成導電溝道,承擔電流傳輸任務。
3. 電流方向:在NMOS 管中,耗盡層處于柵極和源極之間,反型層處于柵極和漏極之間;在 PMOS 管中,耗盡層和反型層的位置剛好相反。

〈烜芯微/XXW〉專業制造二極管,三極管,MOS管,橋堆等,20年,工廠直銷省20%,上萬家電路電器生產企業選用,專業的工程師幫您穩定好每一批產品,如果您有遇到什么需要幫助解決的,可以直接聯系下方的聯系號碼或加QQ/微信,由我們的銷售經理給您精準的報價以及產品介紹

〈烜芯微/XXW〉專業制造二極管,三極管,MOS管,橋堆等,20年,工廠直銷省20%,上萬家電路電器生產企業選用,專業的工程師幫您穩定好每一批產品,如果您有遇到什么需要幫助解決的,可以直接聯系下方的聯系號碼或加QQ/微信,由我們的銷售經理給您精準的報價以及產品介紹
聯系號碼:18923864027(同微信)
QQ:709211280

